1. 서 론
2. 문헌 조사
2.1 고점도 아스팔트 바인더의 특성
2.2 휨 시험 개발
3. 시료제작 및 연구방법
3.1 고점도 아스팔트 바인더
3.2 시료 제작
3.3 휨 시험
4. 시험결과
4.1 휨 시험 결과
4.2 휨 에너지와 휨 강성의 관계
5. 결 론
1. 서 론
배수성 아스팔트 포장은 큰 공극으로 우수의 신속한 배수, 우천시 시인성 향상, 소음저감의 기능성을 갖추었지만 공극 사이로 침투한 우수가 교통하중과 함께 높은 간극수압을 발생시키고, 자외선이 바인더를 노화시킴으로서 골재-바인더 간 결합력이 약화되기 때문에 탈리현상이 발생한다(Kim and Park, 2000; Yoo, 2003; Ferguson, 2005). 따라서 배수성 아스팔트 포장은 기능성 및 내구성을 유지하기 위하여 골재-바인더 간 결합력을 강화시키기 위해 60°C점도가 200,000 Poise 이상인 고점도 아스팔트 바인더(High viscosity asphalt binder)를 사용한다. 바인더의 결합력을 평가하기 위한 아스팔트 바인더의 시험으로는 점도 시험과 터프니스-테나시티(Toughness-tenacity) 시험이 있으나 고점도 아스팔트 바인더의 경우 높은 점도로 인하여 점도 시험 수행시 점도계 관막힘 현상이나 수행시간 지연이 발생하고 터프니스-테나시티 시험 도중 바인더가 금속반구에서 탈구되어 시험 수행에 어려움이 발생한다(Hamada and Murayama, 2005). 때문에 일본에서는 점도 시험 및 터프니스-테나시티 시험을 대체하기 위하여 저온 휨 시험(Flexural beam test)을 개발하여 적용하고 있다. 저온 휨 시험은 시험 수행방법이 쉬울 뿐 아니라 배수성 아스팔트 혼합물의 물리적 특성과도 연관성이 높아 고점도 아스팔트 바인더의 물리적 특성을 평가하는데 사용된다(Ohno et al., 2002). 본 연구에서는 국내에서 PG 82-22등급 이상으로 구분되는 고점도 아스팔트 바인더의 물리적 특성을 정확히 평가하고 구분하기 위하여 14종의 고점도 아스팔트를 준비하여 휨 시험을 실시하였다. 휨 시험의 결과물인 하중-변위 곡선으로 휨 에너지(Flexural energy)와 휨 강성(Flexural stiffness)을 구하여 비교·분석하고 PG등급별로 휨 에너지와 휨 강성의 관계를 확인하였다.
2. 문헌 조사
2.1 고점도 아스팔트 바인더의 특성
일반 개질 아스팔트 바인더는 SBS 등의 폴리머(Polymer) 개질제를 2~3% 첨가하는 것에 비해 고점도 개질 아스팔트 바인더는 폴리머 개질제는 7% 이상 첨가하여 제작한다. 폴리머 개질제의 첨가량이 7% 이상일 경우 아스팔트 바인더 내 구조는 아스팔트 연속상에 폴리머 네트워크가 분산되어 있는 형태에서 폴리머 네트워크 연속상(Continuous polymer network phase)에서 아스팔트가 분산되는 구조로 바뀌게 된다. Fig. 1은 SBS 첨가량에 따른 아스팔트 바인더 내 구조를 보인 것이다. SBS 개질제가 증가할수록 폴리머 네트워크 연속상이 형성되는 것을 확인할 수 있다. 아스팔트 바인더 구조가 폴리머 네트워크 연속상이 되면 점도, 신도, 연화점 등 물리적 특성이 크게 변화가 된다(Yan et al., 2020). Fig. 2는 SBS 첨가량에 따른 침입도, 연화점의 변화를 보인 것이다(Chen et al., 2002; Airey, 2003). SBS 개질제 첨가량이 약 7% 이상이 되면 침입도가 감소하고 연화점이 증가하다 9% 이상에서 폴리머 네트워크 연속상으로 충분히 변화하면서 변화량이 미미한 것을 확인할 수 있다.
2.2 휨 시험 개발
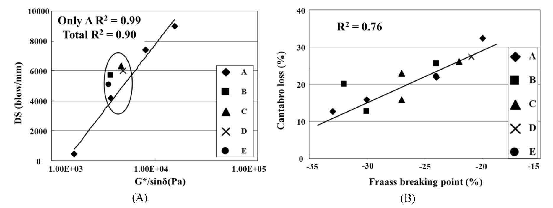
휨 시험은 1999년부터 일본도로공단(Japan highway public corporation)과 일본 개질 아스팔트 협회(Japan modified asphalt association)가 3년 동안 개발한 시험으로서 배수성 아스팔트 포장의 평가항목 중 칸타브로 손실률(Cantabro loss)과 연관성이 높고 시험 수행이 쉬운 바인더 시험이다. Furusato et al.(2001)은 배수성 아스팔트 혼합의 물리적 특성 중 동적안정도와 칸타브로 손실률과 연관성이 깊은 고점도 아스팔트의 물리적 특성 항목을 파악하기 위하여 일본 내에 시판중인 6종의 고점도 아스팔트 바인더로 물리적 특성 시험(침입도, 연화점, 4°C점도, 프라스취하점(Fraass breaking point), 터프니스, 동점도 등)을 시험하였고 해당 바인더로 혼합물 제작 후 동적안정도와 칸타브로 시험을 실시하였다(Furusato et al., 2001). Fig. 3은 해당 연구결과 중 일부로서 동적안정도 및 칸타브로 손실률과 가장 연관성이 높은 고점도 아스팔트 바인더의 물리적 시험항목을 보인 것이다. 배수성 아스팔트 혼합물의 동적안정도와 고점도 아스팔트 바인더의 침입도, 연화점, 4°C점도, 푸라스취하점, 터프니스, 동점도, G*/sinδ의 연관계수 R2(R-squared)은 각각 0.89, 0.87, 0.11, 0.60, 0.55, 0.60, 0.90이고, 칸타브로 손실률과 침입도, 연화점, 4°C점도, 푸라스취하점의 연관계수 R2은 0.55, 0.60, 0.0, 0.76이었다. 동적안정도는 침입도, 연화점, G*/sinδ가 어느 정도 연관성이 나타났으나 칸타브로 손실률과는 고점도 아스팔트 바인더의 물리적 특성 시험항목들 모두 연관성이 적은 것으로 나타났다.

Fig. 3.
Correlation between mixture properties and binder properties (Furusato et al., 2001) (A : dynamic stability & G*/sinδ, B: cantabro loss & frass breaking point)
Ohno et al.(2002)은 SBS 개질제 양을 점진적으로 증진시켜 H type 고점도 아스팔트 바인더 및 H-F type 고점도 아스팔트 바인더와 배수성 아스팔트 혼합물을 제작하여 칸타브로, 마모, 휠트래킹, 회전 휠트래킹의 혼합물 시험과 침입도, 연화점, 터프니스-테나시티, 4°C 및 15°C신도, 프라스취하점 등 기존 아스팔트 바인더 시험, -20°C 휨 시험의 신규 아스팔트 바인더 시험을 실시하여 혼합물 특성과 바인더 특성의 연관관계를 분석하였다(Ohno et al., 2002). Table 1은 해당 연구의 시험결과를 요약한 것이다. 프라스취하점을 제외한 기존의 아스팔트 바인더 시험 항목들은 SBS 개질제 양에 따른 물리적 성질의 변화만 연관성이 있었으나 혼합물의 동적안정도, 칸타브로 손실률, 마모량의 연관성은 뚜렷하지 않았다. –20°C에서 수행한 휨 시험은 SBS 개질제 함량의 변화 뿐 아니라 혼합물의 물리적 특성항목과도 연관성이 매우 높은 것을 발견하였다.
Table 1.
Correlation between binder and mixture test (Ohno et al., 2002)
3. 시료제작 및 연구방법
3.1 고점도 아스팔트 바인더
Table 2는 본 연구에서 사용한 고점도 아스팔트 바인더를 나열한 것이다. PG 82-22 등급 7종과 PG 82-28 등급 7종으로 총 14종의 고점도 아스팔트 바인더를 준비하였다. 7종의 PG 82-22 등급 바인더는 모두 플랜트믹스(Plant-mixed) 방식이고, 7종의 PG 82-28 등급 바인더는 1종은 플랜트믹스, 6종은 프리믹스(Pre-mixed) 방식이다. 플랜트믹스 방식의 고점도 아스팔트바인더는 제조사에서 제공e은 첨가제의 첨가비율과 교반온도, 교반시간, 교반속도(RPM)로 제조하였다. 교반에 사용한 호모게나이저는 I사의 T50 digital이며, 교반툴은 S50N-G45F이다. 건식 고점도 아스팔트 바인더에 사용한 일반 아스팔트 바인더는 PG 64-22로서 Table 3에 물리적 특성을 요약하였다.
Table 2.
Index of high viscosity asphalt binder
| Binder index | A | B | C | D | E | F | G | H | I | J | K | L | M | N |
| PG grade | PG 82-22 | PG 82-28 | ||||||||||||
| Type | Plant-mixed type | Pre-mixed type | ||||||||||||
Table 3.
Physical properties of PG 64-22
3.2 시료 제작
Fig. 4는 휨 시험용 고점도 아스팔트 바인더의 시료 제작 장면을 보인 것이다. 가로 120 mm × 세로 20 mm × 높이 20 mm로 제작이 가능한 휨 시험용 몰드를 준비하고 고점도 아스팔트 바인더와 몰드가 접착되지 않도록 이형제를 도포하였다. 고점도 아스팔트 바인더를 용융온도로 가열하여 몰드에 붓고 토치로 시료 내부와 표면의 기포를 제거하였다. 시료를 상온에서 약 90분 동안 냉각 후 스페출러로 시료표면을 정리하여 표면의 잔여분을 제거하였다. 이후 –20°C의 저온항온조에서 약 15분간 양생시켜 몰드의 온도가 충분히 낮아지면 몰드를 탈형하여 시료를 제작하였다. 제작한 시료는 –20°C에서 6시간 이상 양생을 시켰다.
3.3 휨 시험
3.3.1 수행 방법
Fig. 5는 휨 시험 수행 장면을 보인 것이다. 휨 시험 방법은 KS F 2491에 따라 수행하였다. 시료를 6시간 이상 양생시킨 후 10 kN 용량의 로드셀(Load cell)이 시료 가운데에 위치하도록 설치하고 재하속도(100 mm/min)로 로드셀을 재하시켜 최대하중에 도달하기까지 변위(Displacement)와 하중(Load)를 기록하였다. 이 때 시료의 온도변화를 최소화하기 위해 20초 이내로 시험을 실시 및 종료하였다. 본 논문에서 사용한 휨 시험기는 Y사의 PAF-100을 사용하였다. 14개 시료의 각 시료당 6개의 시편을 제작한 후 휨 시험을 수행하였다.
3.3.2 해석방법 및 기준
Fig. 6은 시료의 휨 파괴형태를 보인 것이다. 일부 시료(Fig. 6의 (A))는 휨 하중으로 인해 파단이 발생한 것이고, 일부 시료(Fig. 6의 (B) 변형이 발생한 것이다. Fig. 7은 휨 파단이 발생한 시료의 하중-변위 곡선과 힘 변형이 발생한 하중-변위 곡선을 보인 것이다. 휨 파단이 발생한 시료의 하중-변위 곡선(Fig. 7의 (A))는 짧은 변위 내 급격하게 하중이 증가하여 최대하중에 도달하고, 휨 변형이 발생한 시료의 하중-변위 곡선(Fig. 7의 (B))는 하중이 재하되면서 변위 및 하중이 천천히 증가하는 것을 확인할 수 있다.
휨 시험의 해석은 하중-변위 곡선(Load-displacement curve)를 도식하고, 휨 에너지(Flexural energy)와 휨 강성(Flexural stiffness)을 계산하여 해석을 실시한다. 기록된 변위와 하중을 식 (1)과 식 (2)로 최대 휨 응력(σmax)과 최대 휨 변형(εmax)을 구한 뒤 식 (3)과 식 (4)으로 휨 에너지와 휨 강성을 계산한다. 휨 에너지는 시료가 휨 파괴가 발생하기까지 필요한 에너지량을 의미하고, 휨 강성은 최대하중에 도달하기까지 응력과 변형의 비를 의미한다. 휨 에너지가 크면 휨 파괴가 발생하거나 항복강도에 도달하였을 때 요구되는 에너지가 크다는 의미이므로 휨 에너지가 작으면 적은 하중으로도 쉽게 휨 파괴가 발생할 수 있다. 휨 강성은 취성파괴 및 연성파괴를 파악할 수 있는 인자로서 휨 강성이 작은 바인더는 휨 하중이 작용하여도 유연성을 가진다는 의미로 해석할 수 있다.
휨 에너지와 휨 강성의 기준은 일본 개질 아스팔트 협회(Japan modified asphalt association)의 기준과 국토교통부의 배수성 아스팔트 콘크리트 포장 생산 및 시공지침(2020.08) 내 ‘배수성 아스팔트 혼합물용 개질 아스팔트의 품질기준’을 적용하였다. -20°C에서 휨 에너지는 0.4 MPa 이상, -20°C에서 휨 강성은 100 MPa 이하이다.
여기서,
: 최대 휨 응력, MPa
: 최대 휨 변형률, mm
: 시편의 폭, 20 mm
: 시편의 두께, 20 mm
: 시편의 지지점 간 거리, 80 mm
: 최대 하중, N
: 최대 하중시 변위량, mm
4. 시험결과
4.1 휨 시험 결과
Table 4 및 Fig. 8은 PG 82-22 등급 고점도 아스팔트 바인더(시료 A부터 G)의 각 6개 시편들을 휨 시험을 수행한 후 평균을 계산하여 얻은 결과를 요약한 것이다. 7종의 시료들의 휨 시험결과는 휨 에너지 및 휨 강성 결과가 각각 상이하였다. 최대하중이 상대적으로 크더라도 변형량이 작아 휨 에너지가 작고 휨 강성이 큰 경우가 있고(Table 4의 시료 B), 최대하중이 상대적으로 작아도 변형량이 커 휨 에너지가 크고 휨 강성이 작은 경우가 있다(Table 4의 시료 E). 품질기준을 적용한 결과 시료 F와 G는 휨 에너지 및 휨 강성 기준을 모두 만족시키지 못하였고, 시료 B의 경우 휨 에너지는 만족시켰으나 휨 강성 기준을 만족시키지 못하는 것으로 나타났다. 이처럼 PG 시험을 통해 동일 등급이라 판정되어도 휨 에너지와 휨 강성의 결과가 모두 상이하기 때문에 고점도 아스팔트 바인더의 특성을 구별하는데 휨 시험이 유효할 것으로 판단된다.
Table 4.
The results of flexural beam test of PG 82-22 specimens
Table 5 및 Fig. 9는 PG 82-28 등급 고점도 아스팔트 바인더(시료 H부터 N) 각 6개 시편들을 휨 시험을 수행한 후 평균을 계산하여 얻은 결과를 요약한 것이다. Table 4 및 Table 5의 최대하중 P와 변위량 d를 확인한 결과 짧은 변위동안 급격하게 하중이 증가한 시료들은 휨 강성이 큰 것을 확인할 수 있으며, 긴 변위동안 천천히 하중이 증가한 시료들은 하중의 크기가 작고 휨 강성이 낮은 것을 확인할 수 있다. PG 82-22 등급 시료들과는 다르게 휨 에너지는 모두 품질기준을 만족시켰으며, 시료 I를 제외하고 휨 강성 품질기준도 모두 만족시킨 것으로 나타났다. PG 82-22등급 시료(A에서 G)보다 저온등급이 우수한 시료들인 것을 휨 시험결과에서도 확인할 수 있다.
Table 5.
The results of flexural beam test of PG 82-28 specimens
4.2 휨 에너지와 휨 강성의 관계
Fig. 10 및 Fig. 11은 PG 등급별 각 시료들의 휨 에너지와 휨 강성 데이터로 상관성을 분석한 결과이다. 상관성의 정확도를 위하여 각 고점도 아스팔트 바인더 당 6개의 시편들을 평균내지 않고 모두 반영하였으며 휨 시험 기준을 적용하지 않았다. 포물선 형태인 2차함수 ‘y=ax2+bx+c’로 단순화 시켜 상관성을 분석하였다. 여기서 a는 포물선의 형태, 즉 관계식의 발산 또는 수렴형태의 경향을 나타내고, b는 포물선의 증감량을 의미하고, c는 해당 포물선의 y절편, 즉 초기값을 의미한다. PG 82-22 등급 시료들의 휨 에너지와 휨 강성의 상관식은 ‘y=0.00002x2-0.01x+1.5837’으로 상관계수 R2 값은 0.8063이다. PG 82-28 등급 시료들의 휨 에너지와 휨 강성의 상관식은 ‘y=-0.0001x2+ 0.0198x+0.434’으로 상관계수 R2 값은 0.7162이다. 해당 상관식들은 PG 등급별 각 7종의 고점도 바인더를 –20°C에서만 휨 시험을 수행하여 얻은 것으로서 고점도 아스팔트 바인더의 휨 에너지-휨 강성의 관계로 일반화시키기 위해서는 향후 다양한 종류의 고점도 아스팔트 바인더와 다양한 온도조건에서 휨 시험을 실시하는 것이 필요하다.
5. 결 론
본 연구에서는 배수성 포장용 고점도 아스팔트의 특성을 확인하기 위하여 PG 82-22 등급 및 PG 82-28 등급의 시료 14종으로 휨 시험을 실시하여 휨 에너지와 휨 강성을 구하고, 상관성을 확인한 결과를 다음과 같이 요약하였다.
1. PG 82-22의 휨 시험결과, 7종의 시료의 휨 에너지 및 휨 강성은 모두 상이하였으며, 일부 시료는 품질기준을 만족하지 않았다. 최대하중이 크나 변형량이 작아 휨 에너지가 작고 휨 강성이 큰 경우가 존재하였고, 최대하중이 작으나 변형량이 커 휨 에너지가 크고 휨 강성이 낮은 경우가 존재하여 동일한 PG 등급이어도 휨 시험을 통해서 각각 다른 특성이 나타나는 것을 확인하였다.
2. PG 82-28의 휨 시험결과, 모든 시료들은 휨 에너지의 품질기준을 만족시켰으나 휨 강성의 경우 일부 시료는 만족하지 않았다. PG 저온등급이 개선되었음을 휨 시험을 통해서 확인할 수 있었다.
3. PG 등급별 휨 에너지-휨 강성의 관계를 규명하기 위하여 포물선 형태의 2차함수 형태로 상관식을 구하였다. PG 82-22 등급 시료들의 휨 에너지-휨 강성의 상관식은 ‘y=0.00002x2-0.01x+1.5837’으로 상관계수 R2 값은 0.8063이고, PG 82-28 등급 시료들의 휨 에너지-휨 강성의 상관식은 ‘y=-0.0001x2+0.0198x+0.434’으로 상관계수 R2 값은 0.7162이다. 해당 상관식들은 제한된 시편의 종류와 시험온도에서 도출한 것으로, 모든 고점도 아스팔트에 휨 에너지-휨 강성의 상관성으로 일반화 시키기 위해서는 다양한 종류의 시편과 다양한 수행온도에서 추가적인 연구가 필요하다.
4. 본 논문을 통하여 동일 PG 동급이어도 휨 시험을 하여 구한 휨 에너지와 휨 강성의 특성을 모두 상이한 것을 확인하였다.












